五大不務正業科學家排名,第一名比陳涌海博導不知道高到哪里去了
日期:2017/4/3
不久前,
一組照片爆紅網絡。
在清華的大學教室內,
一位男教師穿著一件緊身T恤,
凸顯的肌肉線條在課堂讓人有些“熱血賁張”
這位61歲的清華教授楊曉京
是當紅演員楊冪的大伯
不僅第一作者發表80多SCI論文
而且熱愛健身
精通三國外語
還有一位科學家最近也很火
肯定刷爆了你的朋友圈
937首席科學家
中國杰青
也是竇唯新專輯的吉他手
卻和竇唯煮酒論英雄
拿起吉他迷倒萬千人!
話說現在的科學家們都是
這么“不務正業”嗎?
今天小編就和你一起來膜拜一下
科學家們在各種領域的亂入
前方高能
都是神一樣的存在
受不了請繞道!
學術指數:87
“不務正業”指數:85
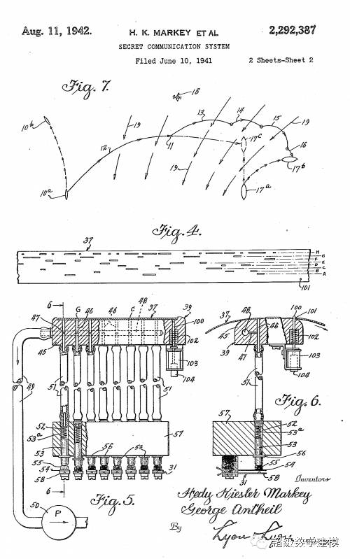
首先要說到了眾多野生科學家的女神,容我喝口水先。
上圖是海蒂·拉瑪在1941年申請的一項專利技術,據說靈感來自于音符。其中的無線電跳頻技術,成為今天 CDMA 和 WiFi 的基礎。所以大家把拉瑪親切地稱為:“CDMA 之母”、“WiFi 之母”。
聽上去好像有點浮夸……
可誰叫這位通訊專業出身的姑娘,不僅會寫詩,會數學,會跳芭蕾,還膽敢長成這樣呢

1932年,18歲的拉瑪出演了電影《神魂顛倒》(Ecstacy),成為人類史上首位全裸出鏡的明星。
此處應留下你們的求種郵箱(你們想多了)
然而萬惡的性別歧視,完全配不上這位女神。性感為她帶來的不是贊美,而是詆毀。不僅在影壇被罵作花瓶,她的專利技術也得不到重視,被美國軍方封存。盡管她的六任丈夫都自慚形穢,盡管她的680個香吻為反抗納粹籌足1700萬美元,但一切還是不可避免地走向了庸俗。
2014年,在誕辰一百周年之際,海蒂·拉瑪終于入選了美國發明家名人堂。
她留給這個世界的一句嘲諷,至今依然適用:
Any girl can be glamorous. All you have to do is stand still and look stupid.
任何女孩都能變得迷人,只要你站在那兒,看上去蠢蠢的。
學術指數:88
“不務正業”指數:85
話說足球運動,自古就出人才:
比如二十年前的世界足球先生維阿,明年很可能當選利比里亞總統。
比如世界杯冠軍利扎拉祖,轉過頭又去拿了個歐洲柔術冠軍。
比如阿森納中場弗拉米尼,與好基友共同創立了化工企業 GF(名字有點怪怪的……據說是兩人結合的象征),員工400多號,市場估值200億英鎊(估值機構:《太陽報》……),被譽為“創業型后腰”。
比如阿爾及利亞競技大學隊的門將加繆,因肺病含恨退役,只好寄情于文字,創立了“荒誕哲學”,于1957年奪得諾貝爾文學獎。
比如 AC米蘭名宿卡拉澤,剛剛以格魯吉亞副總理兼能源部長的身份,會見了中國國家副主席李源潮。
比如前國腳李毅大帝,退役后華麗轉身如同“蚌埠回旋”,一舉統治了我國的互聯網。
比如北宋足球先生高俅,官至殿前都指揮使,相當于首都軍區總司令。
還有一位,被所有當事人認定為“長沙最好的足球守門員”,退役后干了一票大買賣,至今還能在天安門城樓上見到他的照片……
那么,有沒有球員能夠當上科學家呢?
著名愛國青年錢偉長,從小癡迷于中華文化,導致物理只考了5分(百分制),數學、化學加起來20分,英語更是直接0分…… 幸好文史方面表現出了超人的天賦,被清華破格錄取。不多時,九一八事件爆發,歷史系學生小錢出離憤怒了!他決定要制造出飛機大炮,強我中華!于是這位物理只有5分的文藝青年,開始天天去物理系蹭課。后來他在史書上的身份是:中國力學之父。
講這么多無非是想說明:人類根本無法阻止錢偉長!盡管長得既不偉,也不長,身高只有1米49,與郭小四難分高下,被記載為“清華歷史上首位身高不達標的學生”,但小錢夏練三伏,冬練三九,僅僅在入學兩年之后,就以13秒4的佳績奪得全國大學生跨欄季軍!隨后,一直想要為國爭光的錢偉長苦練左邊鋒技術,終于入選了中國國家足球隊,前往菲律賓參加遠東運動會,并展示出不俗的力學底蘊,穿過對方門將的小門攻入一球!唉,遙想當年的國腳,隨隨便便就能虐小日本四五個,在遠東運動會上更是實現了九連冠,哪知現在……
你說說看,像錢偉長這樣的物種,干什么不能生猛得一塌糊涂啊?
要想在足球和學術上同時鎮住錢偉長,只好有請丹麥的玻爾兄弟。
上世紀初,丹麥足壇的霸主是AB俱樂部。該球會的主力中有一對親兄弟,哥哥尼爾斯·玻爾是門將,弟弟哈那德·玻爾是前鋒。1908年倫敦奧運會,弟弟代表丹麥奪得了足球銀牌;而哥哥只能候補,作壁上觀。據說哥哥的主要問題是在球場上不夠專注。有野史記載,在一場迎戰特維達隊的比賽中,德國人外圍遠射,而尼爾斯·玻爾居然靠在門柱邊思考一道數學題!
掛靴之后,弟弟哈那德在劍橋大學當上了數學教授,建立起周期函數研究的主要基礎;而哥哥尼爾斯·玻爾則開創了哥本哈根學派,成為科學史上,與愛因斯坦一時瑜亮的超級巨星。由于對量子力學作出的巨大貢獻,他在1922年獲得諾貝爾獎,終于完爆了弟弟的奧運會銀牌。據說當時丹麥報紙普遍采用的標題是:《著名足球運動員尼爾斯·玻爾被授予諾貝爾獎》。
學術指數:90
“不務正業”指數:90
西蒙斯是個數學天才,20歲畢業于 MIT 數學系,23歲在 UC Berkeley 拿到 PhD,24歲去 Harvard 任教,26歲被國防分析研究所(IDA)請到 Princeton,表面上搞研究,實則為軍方破解密碼。后來因反對越戰而離職,30歲在 Stony Brook 當上數學學院院長……
(PS: 唉,我已經不想再繼續寫下去了。所以說做人啊,最重要的是開心,千萬不要攀比!道可道,非常道;人比人,氣死人。)
1998年,Simons 60 歲,紐約州立大學石溪分校的某個會議上展示 Simons 早期生活的海報。
37歲那年,西蒙斯獲得了幾何學界的諾貝爾獎:韋布倫獎(Oswald Veblen Prize)。
感覺差不多刷到頭了,是時候換個行業,開啟新一輪的人生。
于是西蒙斯成立了一家名叫“文藝復興”(Renaissance Tech.)的對沖基金。從名字上看,這是要挑戰文藝復興時期那批通才的跨界難度。不幸的是,他又成功了。西蒙斯在基金界的地位,就好比武當張三豐,他在華爾街之外開創了一個新的投資流派。這么說吧,現在基金風格分為三種,分別叫:巴菲特、索羅斯、西蒙斯。
為了紀念當年的韋布倫獎,西蒙斯將旗艦產品命名為“大獎章基金”(Medallion Fund)。這個基金就像印鈔機,二十多年來一直在賺錢,年均收益率大概是巴菲特的兩倍。一般的基金收費按照“雙二標準”,管理費2%,分成20%;但西蒙斯有錢任性,非得管理費5%,分成36%。即便如此,大獎章依然遭到瘋搶,最后不得不停止對外發售,只受理自己人的錢。2008年金融危機爆發,基金界哀鴻遍野,但大獎章依然盈利了80%,而西蒙斯個人收入25億美元。美國國會召開危機聆訊,第一個通知的就是他,要求當庭發誓沒有亂來:
如圖所示,那個打著紅領帶的老頭。他的右側是大家比較熟悉的 George Soros,左側是 John Paulson 和 Philip Falcone ——這兩位的基金后來也掛掉了。只有西蒙斯穩穩地賺到退休,并且在退休之后還裝了個逼,大意是:我人都走了,基金還在那賺錢,這讓我覺得自己并不重要,有點失落……
Simons 博士和他的妻子 Marilyn。Marilyn 是一位經濟學家,也是他們基金會的主席
值得一提的是,西蒙斯先生跟中國頗有淵源。他有兩位好基友,分別閃耀在數學界和物理界,一位叫陳省身,一位叫楊振寧。
西蒙斯這輩子最大的成就,不是一年賺到數十億美元,而是和陳省身合作的“陳-西蒙斯定理”——這后來成為微分拓撲學的基礎性理論。就在西蒙斯前往 Stony Brook 掌舵數學的時候,楊振寧也正好去 Stony Brook 掌舵物理。當時楊振寧已經通過“宇稱不守恒”拿到了諾貝爾獎,正試圖建立一個更加強大的規范場理論,但在纖維叢等數學細節上遇到了困難。西蒙斯引入和樂群幫他掃清了數學障礙,從而建立了近代物理的基礎——“楊-米爾斯理論”。這是一個相對論量級的成果,區區諾貝爾獎已不足以表彰其偉大。所以我們看到今天 Stony Brook 的物理學機構,名叫“楊振寧理論物理研究所”;而幾何學機構,名叫“西蒙斯幾何物理中心”。
因為陳省身出自清華數學系,而楊振寧出自清華物理系,所以在清華百年校慶之際,西蒙斯以福布斯土豪的身份跑來捐了一座樓。有意思的是,小樓冠以陳省身之名,然后供楊振寧住在里面。
捐樓之前,西蒙斯在中國的名氣還不大,甚至連百度詞條都沒有。
你如果搜索“西蒙斯”,百度會溫馨地提示:您要尋找的是不是席夢思?然后你會見到各種床墊品牌的推薦……
如今的西蒙斯,轉眼已成為中國股災的背鍋俠。但凡會個加減乘除的私募基金,都號稱自己是“中國的西蒙斯”,正在利用數學模型進行量化投資。經過去年一輪暴跌,他們有的被清盤,有的被證監會封了賬戶。唯一跟西蒙斯相似的,是撈到了一筆不菲的管理費。
學術指數:93
“不務正業”指數:93
相對于西蒙斯,富蘭克林并不陌生,接受過九年義務教育的都知道——不僅知道,應該還同時知道好幾位,比如:雷電之夜跑出去放風箏的科學家富蘭克林,寫出了中學課文《哨子》的文學家富蘭克林,領導了美國獨立戰爭的政治家富蘭克林,等等等等。
然而有可能不知道的是,以上皆為同一人。
作為金融家,這個人還被印在了最大面額的美鈔上:
法國經濟學家杜爾哥充滿詩意地評價道:
“他先從蒼天那里取得了雷電,再從暴君那里取得了民權。”
作為科學家,他發明了雙焦眼鏡,發明了蛙鞋,當選為英國皇家學會院士。
如果沒有他發明的避雷針,你們還能在知乎上裝逼嗎?
作為政治家,他參與起草了《獨立宣言》和美國憲法,被譽為“國父”。
作為教育家,他創建了賓夕法尼亞大學,以及以他命名的富蘭克林·馬歇爾大學。
就是這個一生開掛的家伙,墓志銘上卻寫的是:印刷工富蘭克林。
確實,這個富蘭克林是一個成功的打印機,出版商,科學家,發明家,外交家,公民領袖,政治家和哲學家。太多頭銜加身!他也是大陸會議的成員,并且,除了簽署獨立宣言,簽署了美國憲法和巴黎條約。本杰明開始了第一次圖書館,醫院,消防部門和保險公司在費城的城市,并作為一個科學家是在美國啟蒙運動為他的調查結果和有關電力建設理論的杰出人物之一。在他的許多發明是避雷針,雙光眼鏡,富蘭克林爐,一輛馬車里程表。。。
然而這個一生開掛的家伙,墓志銘上卻寫的是:印刷工富蘭克林。
難道忘不了小時候太窮,上不起學,不得不當了近十年印刷工學徒的經歷嗎……
我認為這個逼裝得比西蒙斯不知高到哪里去了。
避雷針,都斷了。
學術指數:95
“不務正業”指數:95
表面上看,西蒙斯(Simons)是西蒙(Simon)的復數形式。
然而跟西蒙斯相比,西蒙亂入過的領域才是真正的復數形式。
1975年,西蒙得到了計算機領域的最高榮譽——圖靈獎。這比較符合父親對他的期待,畢竟他爹是德國的一名電氣工程專家。然而作為美國的一名鋼琴家,母親總想用藝術氣息熏陶他。在這樣的合力作用下,西蒙考進了芝加哥大學……政治系。后來執教于卡內基梅隆大學,擔任心理學教授…… 并獲得了美國心理學杰出貢獻獎。如果說硅基生物也有心理活動的話,那么圖靈獎還可以理解。可他為什么又因為組織經濟學研究,獲得了1978年的諾貝爾經濟學獎?
西蒙一輩子都沒閑著,他總共拿了九個博士學位:
芝加哥大學政治學博士(1943年);
凱斯工學院科學博士(1963年);
耶魯大學科學博士(1963年);
耶魯大學法學博士(1963年);
瑞典倫德大學哲學博士(1968年);
麥吉爾大學法學博士(1970年);
鹿特丹伊拉斯莫斯大學經濟學博士(1973年);
密歇根大學法學博士(1978年);
匹茨堡大學法學博士(1979年)……
然而他最大的成就,卻來自沒有學位的卡內基梅隆大學。在那里,西蒙創辦了工業管理研究生院,建立起組織行為和管理科學兩大學術領域的研究體系,證明了不搞人工智能的法學博士不是好心理學家。
這讓我想到了 GEB 的作者——侯世達。作為諾貝爾物理學獎得主的兒子,侯世達的身份是斯坦福大學數學學士、俄勒岡大學物理博士、印第安納大學計算機教授、密歇根大學心理學教授……以及美國文理科學院院士。他在 GEB 中試圖證明:哥德爾的數學、埃舍爾的版畫、巴赫的鋼琴曲……內核其實是相同的。憑借此書在邏輯學、語言學、人工智能、生物遺傳、音樂、美術以及禪宗等方面的研究,他最終獲得了普利策文學獎……
計算機科學里有一本奇書,它的作者是人工智能領域里不可忽視的人物;這本書的名字叫《哥德爾、埃舍爾、巴赫:集異璧之大成》,這個人就是侯世達。
信息來源:稻田報告
|